

W inspirowaniu się poczynaniami konkurencji nie ma niczego złego. Zwłaszcza jeśli konkurencyjne rozwiązania okazują się przełomowe, tak jak ma to miejsce w przypadku kontrolerów opracowanych przez Valve dla gogli z linii Index. Wiele wskazuje na to, że projektanci Sony podczas pracy nad drugą generacją padów dla gogli wirtualnej rzeczywistości mocno inspirowali się swoimi rynkowymi rywalami.
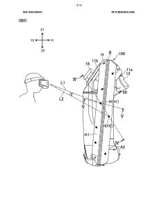
Serwis LetsGoDigital jako pierwszy wpadł na trop dokumentu opisującego nowe kontrolery ruchowe od Sony. Patent japońskiej korporacji nie nie precyzuje co prawda z którymi goglami miałyby współpracować, można jednak założyć, że opracowano je z myślą o wykorzystaniu w parze z drugą generacją PSVR. Sam wygląd padów przywodzi na myśl kontrolery Valve Index, co pozwala przypuszczać, że sprzęt od Sony będzie funkcjonował na podobne zasadzi i również prześledzi ułożenie palców gracza.
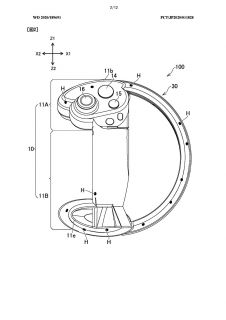
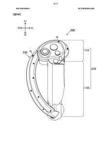
Niestety, dokument patentowy nie wspomina ani słowem o technologii tego typu, gdyż skupia się na innym aspekcie działania kontrolerów. Opisuje metodę komunikacji z systemem rozpoznawania ruchu. W tej materii Sony również zainspirowało się najlepszymi rynkowymi rozwiązaniami. Pady wykorzystują bowiem system diod lokalizacyjnych podobny do tego, który zastosowano w kontrolerach Oculus Touch. Dokument wspomina także o możliwości śledzenia położenia sprzętu za pośrednictwem układu optycznego zamontowanego w goglach VR. Takie rozwiązanie również znajdziemy u Oculusa oraz w goglach HTC Vive Cosmos.
Choć zaprezentowane tu urządzenia wyglądają obiecująco i w takiej formie mogłyby wnieść do konsolowej wirtualnej rzeczywistości nową jakość, nie wiadomo, czy Sony zdecyduje się na wyprodukowanie takich kontrolerów. Opatentowanie technologii nie jest wszak tożsame z chęcią wprowadzenia jej w życie.

Źródło: RoadtoVR

