Patent Sony opisuje technologię emulowania konsol PS1, PS2 i PS3 w chmurze
Inżynierowie Sony pracują nad nietypowym systemem emulacji starszych konsol. Firma testuje możliwość uruchamiania gier z minionych generacji PlayStation za pośrednictwem usługi chmurowej.


Jak wiadomo, wsteczna kompatybilność nie będzie najmocniejszą stroną PlayStation 5. W tej kategorii niekwestionowanym liderem będzie Xbox Series X, przystosowany do uruchamiania tytułów ze wszystkich poprzednich generacji Xboxów, konsola Sony skupi się na emulacji PS4. Nie oznacza to jednak, że gracze zostaną odcięci od poprzednich generacji PlayStation.
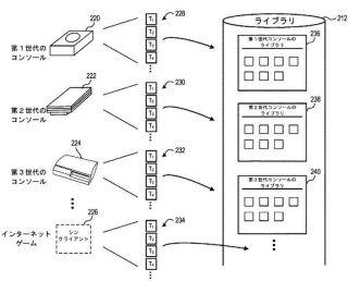
Do takiego wniosku można dość po lekturze dokumentu, który japońska korporacja złożyła w urzędzie patentowym. Sugeruje on, że gry z konsol PlayStation, PlayStation 2 oraz PlayStation 3 moglibyśmy uruchamiać za pośrednictwem chmury obliczeniowej. Tym ciekawym znaleziskiem podzielił się ze społecznością twitterowicz @Renka_Schedule.
Jak poinformowali dziennikarze serwisu psu.com, w japońskojęzycznym dokumencie znajdziemy zapewnienia, że przy użyciu opisywanej technologii można gromadzić i odpalać w chmurowej bibliotece wiele gier z PS1/PS2/P3. Pomysłodawcy patentu chcieliby uruchamiać je na wirtualnych maszynach imitujących działanie systemu operacyjnego dla konkretnej generacji.
Jeśli opisywane rozwiązanie udałoby się wdrożyć w życie, emulatory online prawdopodobnie stałyby się częścią usługi PS Now. Tym samym istnieje cień szansy, że również PlayStation 5 będzie wstecznie kompatybilna ze wszystkimi poprzednimi generacjami, choć nie na poziomie sprzętowym, jak zrealizuje to Xbox Series X. O ile oczywiście Sony zdecyduje się wykorzystać ten patent przy okazji premiery PS5.
Źródło: psu.com




naEKRANIE Poleca
ReklamaKalendarz premier seriali
Zobacz wszystkie premieryDzisiaj urodziny obchodzą
ur. 1949, kończy 76 lat
ur. 1970, kończy 55 lat
ur. 1997, kończy 28 lat
ur. 1981, kończy 44 lat
ur. 1968, kończy 57 lat

