Microsoft opatentował kontrolery do urządzeń mobilnych
Plotki okazały się prawdą - Microsoft uzyskał patent na pady mobilne doczepiane do smartfonów i tabletów. Sprzęt może być projektowany z myślą o wykorzystaniu w ramach usługi xCloud.


Po raz pierwszy o smartfonowych padach od Microsoftu usłyszeliśmy pod koniec 2018 roku przy okazji raportu, do którego dotarli dziennikarze Windows Central. Microsoft zlecił wówczas zbadanie, co stało za sukcesem Nintendo Switcha i okazało się, że sekret popularności konsoli jest dość prosty. Producentowi udało się połączyć doświadczenia płynące z grania na urządzeniach mobilnych z wygodnym, fizycznym kontrolerem.
Nie trzeba było zbyt długo czekać na przekucie tego raportu w wizję konkretnego produktu. Dziennikarze Windows Latest natrafili na kolejny ślad mobilnych padów sygnowanych logo Microsostu - na początku lipca firma otrzymała patent opisujący kontrolery do urządzeń mobilnych. W dokumencie otwarcie wspomina o tym, że przy projektowaniu tego urządzenia inspirowano się konsolą od Nintendo.
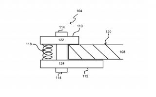
Inżynierowie Microsoftu skupili się głównie na dopracowaniu konstrukcji gadżetu, aby ich pady byłyby wygodne w obsłudze, a przy okazji mniej toporne niż konkurencyjne rozwiązania dostępne na rynku. Oto jak sprzęt prezentuje się w dokumentach patentowych:
Uznanie zgłoszenia patentowego nie jest oczywiście jednoznaczne z tym, że takie pady trafią do sprzedaży. Biorąc jednak pod uwagę fakt, że firma pracuje nad uruchomieniem gamingowego serwisu streamingowego xCloud, istnieje wysokie prawdopodobieństwo, że w niedalekiej przyszłości te prototypowe zabawki zamienią się w prawdziwe mobilne kontrolery z logo Xboxa na obudowie.
Źródło: comicbook.com / Zdjęcie: Windows Central



naEKRANIE Poleca
ReklamaKalendarz premier seriali
Zobacz wszystkie premieryDzisiaj urodziny obchodzą
ur. 1976, kończy 49 lat
ur. 1983, kończy 42 lat
ur. 1973, kończy 52 lat
ur. 1945, kończy 80 lat
ur. 1983, kończy 42 lat

Lekkie TOP 10
