Pad do PlayStation 5 ze schowkiem na słuchawki?
Niedawno opublikowany patent sugeruje, że Sony może pracować nad nowym kontrolerem do PS5 z gniazdami do przechowywania i ładowania słuchawek dousznych.


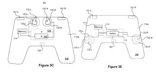
Sony zgłosiło patent na nowy kontroler PS5 z gniazdami do przechowywania w nich słuchawek. Nie będą jednak służyć tylko jako skrytki, a użytkownicy będą mogli również parować i ładować swoje bezprzewodowe słuchawki za pomocą tego nowego pada. Patent zawiera rysunki przedstawiające gniazda położone w kilku różnych miejscach kontrolera, w tym jeden wersja ma je pod touchpadem, co sugeruje, że dokładna konfiguracja nowego kontrolera PlayStation 5 nie została sfinalizowana w momencie złożenia patentu.
Wiadomość nadeszła zaledwie kilka dni po tym, jak Sony zapowiedziało InZone Buds – parę bezprzewodowych słuchawek dousznych gamingowych z funkcjami dźwięku przestrzennego i ceną aż 200$. Nie jest to jedyna para bezprzewodowych słuchawek dousznych, które w ciągu najbliższych kilku miesięcy wypuści gigant technologiczny. Kolejne to Pulse Explore, które w sierpniu zostały zaprezentowane wraz z PlayStation Portal na blogu PlayStation.
Trudno przewidzieć jak duże może być zapotrzebowanie na kontroler zaprojektowany z myślą o przechowywaniu i ładowaniu bezprzewodowych słuchawek dousznych, zwłaszcza że zarówno Pulse Explore, jak i InZone Buds mają własne etui ładujące, a czas pracy na baterii obecnego modelu DualSense jest nieco zbyt krótki.

Warto również zauważyć, że tylko dlatego, że Sony opatentowało nowy kontroler PS5 z gniazdami do przechowywania wkładek dousznych, niekoniecznie oznacza to, że firma nad nim pracuje. W końcu firmy takie jak Sony często zgłaszają patenty na technologie, które nigdy nie ujrzą światła dziennego, tylko po to, by uniemożliwić ich wykorzystanie konkurentom.
Nie jest to jedyny patent związany z kontrolerem, który Sony złożyło w ostatnim czasie. W zeszłym miesiącu upubliczniono patent pokazujący dołączany ekran dotykowy do DualSense, podczas gdy patenty związane z kontrolerem Access do PS5 zaczęły pojawiać się zaledwie kilka dni przed formalnym zaprezentowaniem go przez Sony. Oczywiście możliwe jest, że ten nowy pad do PS5 zostanie wkrótce oficjalnie zapowiedziany, chociaż szanse na jego pojawienie się wraz ze słuchawkami Pulse Explore lub InZone Buds wydają się dość niewielkie.
Źródło: Opracowanie własne/GameRant



naEKRANIE Poleca
ReklamaKalendarz premier seriali
Zobacz wszystkie premieryDzisiaj urodziny obchodzą
ur. 1965, kończy 60 lat
ur. 1972, kończy 53 lat
ur. 1969, kończy 56 lat
ur. 1977, kończy 48 lat
ur. 1965, kończy 60 lat

